Amazon Go에 대해 들어보셨나요? 단순하게 ‘계산대 없는 마트’라고 표현할 수 있습니다. 고객은 매장에 들어와서, 필요한 물건을 고르고, 그냥 가지고 나오면 됩니다. 아마존이 만든 동영상을 보면 이해가 쉽습니다.
Amazon Go를 가능하게 하는 핵심 기술은 Computer Vision과 Machine Learning이라고 합니다. 고객이 매장에 입장하면 사물을 인식할 수 있는 카메라가 고객을 추적하며 어떤 물건을 집었는지 판별합니다. 그리고 고객이 매장을 나가면 앱에 등록된 정보로 자동 결제됩니다. 최신 기술을 활용해 고객 경험을 어디까지 끌어올릴 수 있을지 기대하게 되네요.
그러나 Amazon Dash나 Amazon Echo와 마찬가지로, Amazon Go 역시 사업 타당성에 대한 부정적 견해가 있는데요, 실제로 Dash, Echo 등은 자체적인 손익분기를 넘지 못하는 것으로 알려져 있습니다. 하지만 앞서 출시한 서비스들처럼 Amazon Go는 뚜렷한 목적이 있는데, 바로 ‘구매고객 데이터 분석’이 그것입니다.

오프라인 채널에 대해서도 동일한 방법론이 통한다고 본 것 같습니다. 구매고객을 분석한 데이터를 활용해 고객의 구매경험을 향상시키는 것이 오프라인 채널에서도 경쟁우위를 가져다 준다는 믿음아래, Amazon Dash, Echo, Go를 이용해 원하는 데이터를 확보하고자 하는 것입니다.
아마존은 이미 Amazon Dash에서 발생한 데이터로 고객의 전반적인 구매 패턴을 파악할 수 있습니다. 그리고 이런 구매 패턴 분석만으로도 많은 것을 바꿀 수 있습니다. 특정 상품에 대한 반복적인 구매 수량, 구매 주기를 분석해 제품 자체를 다시 만들게 할 수 있을지도 모르니까요.

Amazon Dash를 통해 주방용 세제를 판매한다고 가정해 보겠습니다. 아마존은 고객의 구매 패턴을 분석해 한번에 몇 개를 구입하는지, 어느 정도의 주기로 주문하는지를 알 수 있으며, 나아가 가정에 유지하는 재고량, 일일 사용량도 매우 정확하게 추정할 수 있습니다. 자연스럽게 다음 어느 시점에 얼마나 구매할지 예상할 수 있는 것이죠.
Amazon Go를 통해서는 해당 고객의 오프라인 매장에서의 행동 및 구매 특성을 파악하게 됩니다. 온라인과 오프라인의 패턴은 어떻게 다른지, 오프라인에서만 구매하는 제품은 무엇인지, 어떤 이유로 특정 제품은 온라인 또는 오프라인으로만 구매하는지 등 옴니채널에 대한 강력한 통찰력을 확보하는 것입니다.

이는 결국 제품의 온라인 판매에 최적화된 용량과 패키지, 오프라인 공급에 필요한 출고 타이밍과 최적의 재고량에 영향을 주게 됩니다. 시간의 흐름에 따른 구매 패턴 변화를 분석해 제품의 생애주기도 예상할 수 있으며, 이에 따라 전반적인 제품 전략 역시 변화하게 될 것입니다. 제조사에 대한 아마존의 협상력이 더욱 커지게 되겠네요.
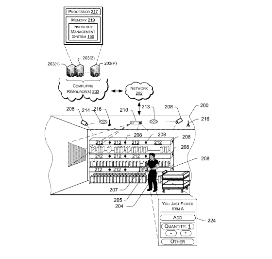
매장 입장 시 앱을 실행시켜 출입구에 인식만 시켜주면 더 이상의 절차가 필요 없는게 Amazon Go의 시스템입니다. 고객정보와 결제정보는 앱에 입력되어 있으므로, 고객이 매장으로 들어오는 순간 결제에 필요한 대부분의 데이터는 확보를 마치게 됩니다. 매장을 나가는 시점에 결제가 이루어지며, 사용자는 앱을 통해 구매 이력이 정확한지 확인만 하면 됩니다.
한국 역시 대부분의 E-Commerce 회사들이 모바일 앱을 가지고 있으며, 모바일 채널의 거래액이 기존 채널을 추월한 기업들이 더 많을 것입니다. 그래서인지 결제가 일어나는 주요 채널인 모바일 앱에 대해서는 데이터 분석을 빼놓지 않습니다. 분석 필요성이 높은데다, 기술이 발전하는 만큼 분석도 쉬워진 영향이 있을 것입니다.
웹 채널 분석에 특화된 Google Analytics는 모바일에서도 여전히 유효합니다. 다만, GA를 도입한 기업들 중 80% 이상은 다른 분석 서비스를 병행해서 사용합니다. 범용 툴로 개발된 특성상 GA는 누구에게나 잘 어울리지만 누구에게도 완벽하게 들어맞지 않는 기성복과 같은 성격이 있는 것이죠. 여담이지만 이 점에서 각 분석업체마다 차별화를 시도하고 있습니다.
모바일 앱이 있다면 늦지 않았습니다. 아마존 역시 고객과 고객행동에 대한 의문을 해결하기 위해 가설을 세우고 간단한 A/B 테스트를 실행한 것이 분석의 시작이었으니까요. 눈사람을 만들려면 주먹만한 눈 뭉치부터 굴려야 하듯이, 몇 명의 사용자가 앱을 실행하는지 등의 기본적인 수치부터 분석할 수 있으면 충분합니다. 가벼운 마음으로 시작해보시길 권합니다.